Антенны бывают направленные и всенаправленные. Всенаправленные работают со всеми направлениями по горизонту. Направленные работают только в одном направлении - они перенаправляют излучение с других направлений в нужное.
ВСЕНАПРАВЛЕННЫЕ АНТЕННЫ
Такие антенны бывают самые разные. Тут показаны по возрастанию их эффективности = Коэффициенту усиления: спиральки, четвертушки, полуволновые и коллинеарные.

Это самые плохие антенны, но зато самые компактные. Ку равен примерно 1 дБи. Иногда их прячут в длинный пластиковый корпус - всегда проверяйте содержимое корпуса! Если длина корпуса меньше 8-9 см на 868 мГц, то там точно спиралька. Очень плохо работает без противовеса, длиной не менее лямбда на 4. Могут при этом быть причиной перезагрузки или зависания контроллера.
.
Длина четверти лямбда для 868 мГц составляет примерно 8 см.Эти антенны имеют коэффициент усиления порядка 2 дБи. Очень плохо работают без противовеса, длиной не менее лямбда на 4. Могут при этом быть причиной перезагрузки или зависания контроллера.
У всех полуволновых антенн коэффициент усиления равен 2-2,5 дБи. Стандартная антенна - полуволновой вибратор. Не даёт помех контроллеру. Разновидностями такого диполя являются антенны:
простой разрезной диполь
Реализация:
Требует симметрирования и защиту от статических зарядов.
разрезной коаксиальный диполь
Реализация: 
Не требует симметрирования, но требует защиту от статических электрических зарядов.
джейка
Реализация: 
Не требует симметрирования. Короткозамкнутая - меньше принимает низкочастотных помех и не собирает статического заряда.
граунд плэйн
Не требует симметрирования, но требует защиту от статических зарядов.
Реализация Радиал А10 868 
Это самые лучшие по усилению антенны. Принцип работы таких антенн заключается в том, что несколько полуволновых вибраторов выстраиваются вдоль одной линии = коллинеарно и соединяются последовательно через фазирующие устройства, задача которых задержать фазу на 180 градусов и тогда излучение всех вибраторов становится синфазным и складывается.Коэффициент усиления становится достаточно большим.
НАПРАВЛЕННЫЕ АНТЕННЫ
Это антенны Петлевой диполь, двойной квадрат, Харченко, волновой канал = Уда-Яги.
Короткозамкнутая антенна мало собирает низкочастотных помех и не требует защиты от статических электрических зарядов.
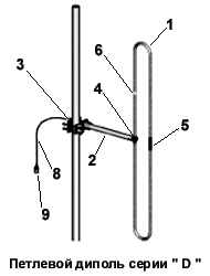
КОЛЬЦЕВЫЕ.
Имеет коэффициент усиления порядка дБи, суженную диаграмму направленности и тоже короткозамкнутая.
Антенна ХАРЧЕНКО
Имеет коэффициент усиления прядка 9-10 дБи, диаграмма направленности №№ градусов и тоже короткозамкнутая. Требует симметрирования.
Имеет высокий коэффициент усиления - зависит от количества вибраторов, и узкую диаграмму направленности. Требует симметрирования, на снимке - оно уже есть. Для мештастика трубки должны быть расположены в пространстве вертикально.